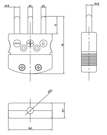
Соединитель для термосопротивлений трехконтактный
Размер: стандартный
Вилка
Материал корпуса: пластмасса
Цвет: белый
Макс. температура: +200°С
Макс. диаметр кабеля: 8,0 мм
Материал контактов: медь

Главный офис компании переезжает на новый адрес.
Уважаемые украинские коллеги, приборы НПК "Рэлсиб" г. Новосибирск вы можете легко и просто купить у нашего белорусского дилера ООО «Белросизмерение».
Задайте свой вопрос: