Цена с поверкой, с НДС, руб в зависимости от количества:
| Кол-во | 1…30 | 31…100 | 101…300 | 301 и более |
| Цена | 4520 | 4440 | 4360 | 4340 |
Без поверки - дешевле.
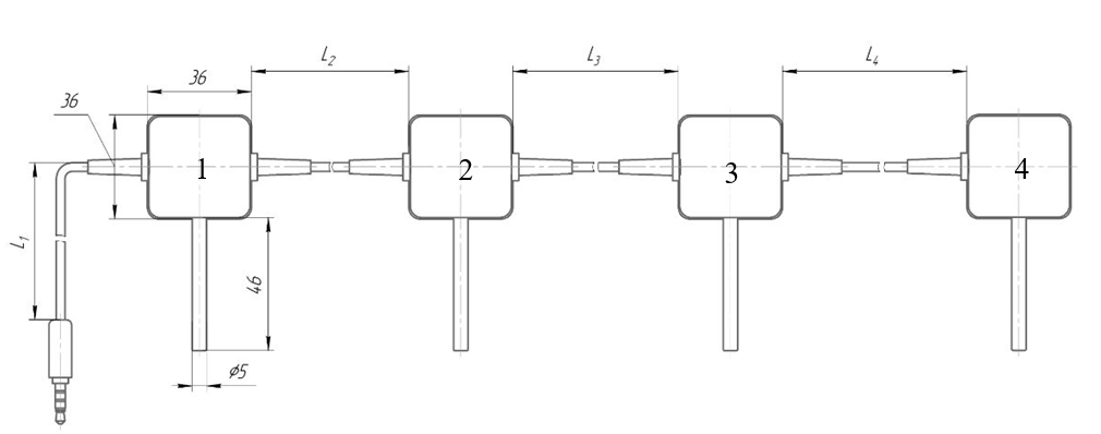
Термогигрометр электронный Ivit-s-1-4t предназначен для точных измерений температуры и относительной влажности окружающего воздуха, а также температуры воздуха, жидких и сыпучих сред при помощи четырех выносных зондов температуры, расположенных последовательно на удлинительном кабеле подключенном к прибору, с выводом информации на большом, контрастном ЖК дисплее. Прибор может применяться внутри отапливаемых помещений организаций, предприятий и в быту.
Прибор в автоматическом режиме опрашивает показания всех сенсоров и последовательно отражает их на дисплее с указанием номера сенсора. Термогигрометр Ivit-s-1-4t может использоваться для контроля температурно-влажностного режима в медицинских учреждениях, фармацевтических производствах, предприятиях микроэлектроники, микробиологии, теплицах и оранжереях и так далее. Например в аптеке для одновременного контроля температуры и влажности в помещении и температуры в 4-х точках холодильника с лекарствами, на складе с контролем температуры и влажности и дополнительного контроля температуры в 4-х местах склада.

| Диапазоны измерений: температура, °С относительная влажность, % |
от 0 до + 40 от 20 до 80 |
| Пределы допускаемой абсолютной погрешности измерений: температура, °С относительная влажность в диапазоне температуры от +15 °C до +30 °C, % |
± 0,5 ± 4,0 |
| Пределы допускаемой дополнительной абсолютной погрешности измерений относительной влажности на каждые 10 °C изменения температуры окружающей среды, % в диапазоне температуры от 0 °C до +14,9 °C и св. +30 °C до +40 °C |
± 0,5 |
| Диапазон измерений температур дополнительного канала температуры, °С |
от -19,9 до + 99,9 |
| Пределы допускаемой абсолютно погрешности измерений температуры дополнительного канала температуры, °С |
± 0,5 |
| Пределы допускаемой дополнительной абсолютной погрешности измерений температуры дополнительного канала температуры на каждые 10 °C изменения температуры окружающей среды, °C в диапазоне температуры от 0 °C до +14,9 °C и св. +30 °C до +40 °C |
± 0,1 |
| Наименьший разряд цифрового кода отсчетного устройства в режиме измерений |
0,1 |
| Период обновления измеренных параметров на дисплее прибора, с, не более |
50 |
| Напряжение питания прибора: элемент питания типа ААА, В | 2х1,5 |
| Габаритные размеры, мм | 70х52х22 |
| Габаритные размеры выносного зонда температуры (диаметр х длина), мм, не более |
5х46 |
| Длина удлинительного кабеля, мм | согл. при заказе |
| Продолжительность работы прибора от элементов питания, мес, не менее | 12 |
| Масса, г, не более | 50 |
Главный офис компании переезжает на новый адрес.
Уважаемые украинские коллеги, приборы НПК "Рэлсиб" г. Новосибирск вы можете легко и просто купить у нашего белорусского дилера ООО «Белросизмерение».
Задайте свой вопрос: