Цена по запросу
• УПТ-01 может эксплуатироваться в очень жёстких условиях, характерных при тушении пожаров. Имеет индикатор для контроля заряда элемента питания.
• Благодаря низкому энергопотреблению, средний срок службы устройства до смены элемента питания составляет не менее 10 лет. Таким образом, оснащенные УПТ-01 порошковые модули позволяют в 3 раза сократить затраты потребителя на демонтаж порошковых модулей для замены элемента питания.
Устройство пусковое температурное УПТ–01 предназначено для автоматического запуска модулей порошкового пожаротушения (порошковых модулей) и передачи сигнала тревоги по линии связи. Жесткозакрепленные модули порошкового пожаротушения с автоматическим запуском применяют для тушения пожара без участия человека в производственных, складских, бытовых помещениях, гаражах, торговых залах, в шкафах с электрооборудованием и др.
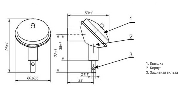
Устройство содержит:
При срабатывании устройства оно подает в модуль пожаротушения электрический импульс и замыкает шлейф (ШПС) с ограничением максимального тока.
УПТ-01 устанавливается на порошковый модуль при помощи кронштейна и подключается к модулю через гермоввод корпуса. Запуск оснащенного УПТ-01 модуля происходит при достижении температуры окружающего воздуха +70°С.

См. также: Реле температурное РТ-1 для пожарных извещателей
Устройство пусковое ручное УПР-01
| Температура срабатывания | 70±5°С |
| Диапазон напряжений в шлейфе (ШПС) | 12...70 В |
| Потребляемый ток | 0.01 мА (в дежурном режиме) 20 мА (при срабатывании) |
| Напряжение импульса при срабатывании | более 8 В длительностью 5 мс на нагрузку 10... 16 Ом |
| Количество срабатываний до разряда элемента питания | не менее 10 |
| Степень защиты | IP54 |
| Температура эксплуатации | -40…+50°С |
| Устойчивость к воздействию температур | -50…+75°С |
| Средний срок службы | не менее 10 лет |
| Элемент питания | 3,0±0,3 В |
| Габаритные размеры | 91х71 мм |
| Масса | не более 0,08 гр |
Жесткозакрепленные модули порошкового пожаротушения с автоматическим запуском применяют для тушения пожара без участия человека в производственных, складских, бытовых помещениях, гаражах, торговых залах, в шкафах с электрооборудованием и др.
Главный офис компании переезжает на новый адрес.
Уважаемые украинские коллеги, приборы НПК "Рэлсиб" г. Новосибирск вы можете легко и просто купить у нашего белорусского дилера ООО «Белросизмерение».
Задайте свой вопрос: